產品目錄
PRODUCT CENTER- 能見度監測站
- 負氧離子監測站
- 公路氣象站
- 空氣質量監測站
- 負氧離子檢測儀
- VOC在線監測設備
- 隧道檢測設備
- 走航設備
- 路面狀況傳感器
- 煙氣分析儀
- 粉塵濃度檢測儀
- 粉塵采樣器
- 便攜式EL檢測儀
- 惡臭監測設備
- 光透過率檢測儀
- 風量儀
- 便攜式iv測試儀
- 雷達測速儀
- 電能質量分析儀
- 光伏電站灰塵監測系統
- 組串電源
- 噪聲監測站
- 輻射傳感器
- 光伏氣象站
- GNSS位移監測站
- 車載氣象站
- 便攜式氣象站
- 云高儀
- 生命探測儀
- 漏電探測儀
- 氣體檢測儀
- 能見度傳感器
- 在線塵埃粒子計數器
- 雷電預警系統
- 全天空成像儀
推薦文章
- 透視組件健康——戶外光伏電站測試儀
- 從被動應對到智能預警:團霧預警監測系統的技術進化
- 遙感路面狀況傳感器核心優勢——非接觸測量
- 空氣品質翻譯官:全彩屏負離子監測站
- 國產大氣負氧離子監測系統:既美觀與功能于一體
- 通風管道超聲波風速檢測器如何看透管道內的風?
- 光伏板el檢測儀:太陽能電池的體檢專家
- 路面狀況檢測器,不碰路面就能監測?
- 在線塵埃粒子計數器如何透視微觀污染?
- 手持激光云高儀如何丈量云端距離?
- 全彩屏負氧離子監測站——公園景區的"空氣品質展示窗"
- 便攜式el檢測儀——光伏板的X光機
聯系我們
聯系人:趙經理
聯系電話:13645368788
客服QQ:841106043
公司地址:山東省濰坊高新區新城街道玉清社區光電路155號濰坊高新區光電產業加速器(一期)1號樓301
路面狀況傳感器
更新時間: 2025-11-06產品詳情
一、路面狀況傳感器產品介紹
路面狀況傳感器又稱路面狀況檢測器,路面狀況檢測儀,路面狀況傳感器提高了公路養護和公路管理的效率,為公眾提供準確,全面的公路氣象信息,避免公路交通延誤,減少因惡劣天氣誘發的交通事故。
路面狀況傳感器又稱路面狀況檢測器,路面狀況傳感器采用遙感技術,多光譜測量技術使得能準確檢測道出道路表面結冰、積雪和積水的存在狀態和厚度,同時還能實時監測影響交通安全的大霧、雨和雪等天氣現象。
WX-LM1系列非接觸式路面狀態檢測器,它采用遙感技術,避免了對道路的破壞,從而不會因為安裝道路氣象站引起的對交通的干擾。多光譜測量技術使得能準確檢測道出道路表面結冰、積雪和積水的存在狀態和厚度,同時還能實時監測影響交通安全的大霧、雨和雪等天氣現象。
二、功能
l檢測路面積水、積雪、結冰狀態
l遠距離遙感檢測路面、橋面狀況
l非埋入式安裝快捷簡便
l車流量和事故多發區域
l雨雪多發區域
l維護成本低
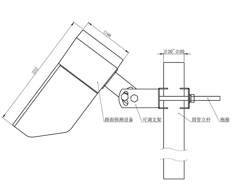
三、產品尺寸圖

四、主要指標
型號 | WX-LM3(停售) | WX-LM1 |
檢測距離及檢測區域直徑 | 2-8米;23cm | |
對水平線的安裝角度 | 30-80度 | |
電源及功耗 | DC12-24V; 0.6W | |
工作溫度和濕度 | 溫度:-40 oC 至 +60 oC ; 濕度:0 至 95% | |
積水厚度 | - | 0-10 mm |
覆冰厚度 | - | 0-2 mm |
積雪厚度 | - | 0-2 mm |
濕滑程度 | - | 0.01(濕滑)-0.82(摩擦強) |
路面狀態報告 | 干燥、 潮、 濕、 雪、 冰、 冰水混合 | |
公路天氣現象(選配) | 路面溫度: -40 oC 至 +60 oC | |
天氣現象: 雨;雪;大霧 | ||
路面材料 | 混凝土、瀝青路面 | |
通訊 | RS485、RS232 | |
本文地址:http://www.huajujssw.com/lmzk/62.html
- 上一篇:沒有了!
- 下一篇:非接觸式路面傳感器
相關產品
最新文章
-
2025-11-06 15:47:20
?透視組件健康——戶外光伏電站測試儀
-
2025-11-06 15:22:43
?從被動應對到智能預警:團霧預警監測系統的技術進化
-
2025-11-05 15:46:03
?遙感路面狀況傳感器核心優勢——非接觸測量
-
2025-11-05 15:27:50
?空氣品質翻譯官:全彩屏負離子監測站
-
2025-11-04 15:37:31
?國產大氣負氧離子監測系統:既美觀與功能于一體
-
2025-11-04 15:35:55
?通風管道超聲波風速檢測器如何看透管道內的風?
-
2025-11-03 15:49:04
?光伏板el檢測儀:太陽能電池的體檢專家
-
2025-11-03 15:21:30
?路面狀況檢測器,不碰路面就能監測?
-
2024-03-01 16:31:39
?臭體檢測設備有利于環保工作的順利開展
-
2025-05-28 15:35:12
?高速氣象監測站,高速行車安全得力助手
-
2025-08-11 16:14:53
?光伏氣象站:新能源時代的“氣象先生”
-
2024-08-19 15:29:58
?光伏檢測氣象站設備
-
2024-10-11 15:52:06
?光伏板隱裂快速檢測儀的作用
-
2024-07-22 15:22:12
?景觀木亭公園氣象站主要針對負氧離子的監測
-
2024-12-06 15:18:28
?負氧離子在線監測系統對于公園景區環境監測的重要作用
-
2024-08-07 15:42:46
?七要素一體化氣象監測設備——七要素融合,全面洞察天象
